Tìm kiếm chiếc xe của mình trong một bãi đỗ vào lúc đêm muộn là một chuyện không đơn giản, vì vậy Ford và Lincoln đang suy tính phát triển một giải pháp mới, vừa tiện dụng lại vừa có tính thẩm mỹ. Dựa theo một đơn xin cấp bằng sáng chế mới, thương hiệu xe Mỹ đang muốn áp dụng công nghệ chiếu ảnh 3 chiều lên xe ô tô. Tuy nhiên, điểm khác biệt ở hệ thống này so với các hệ thống chiếu hình 3 chiều khác là hình ảnh sẽ hiện lên trên nước.

Hình minh họa hệ thống chiếu ảnh 3 chiều của Ford và Lincoln
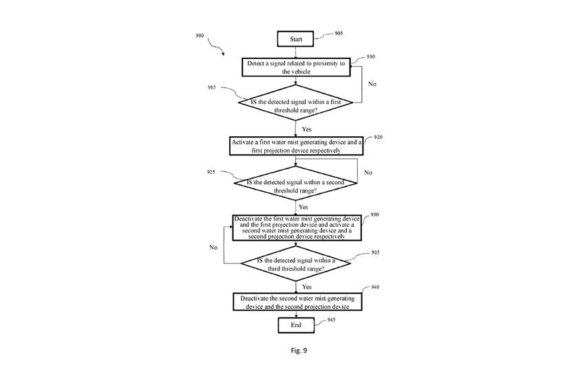
Cụ thể, hệ thống chiếu ảnh 3 chiều của Ford và Lincoln bao gồm ba bộ phận, một thiết bị chiếu trên xe, một thiết bị tạo sương nước, và một bộ điều khiển để làm cho cả hai hoạt động cùng nhau, tùy thuộc vào độ gần của chìa khóa. Nước có thể được lấy từ mưa, bằng van đóng khi bồn chứa đã đầy, hoặc bằng cách sử dụng hệ thống thu hồi nước ngưng tụ của điều hòa không khí.

Hình minh họa hệ thống chiếu ảnh 3 chiều của Ford và Lincoln
Bằng sáng chế cũng lưu ý bằng cả lời nói và hình vẽ phác họa rằng thiết bị chiếu có thể ở trên nóc xe hoặc ở bộ phận trang trí mũi xe, và nó sẽ chiếu logo trong hình vẽ. Các bản vẽ cho thấy một chiếc sedan, nhưng vì công ty hiện chỉ bán xe SUV, chúng ta có thể thấy hệ thống này xuất hiện trên Lincoln Navigator, cho dù kích to lớn của Navigator chắc sẽ không cần, nhưng các mẫu xe nhỏ hơn như Nautilus, Corsair và Aviator cũng có thể sử dụng công nghệ này.

Hình phác thảo trong đơn xin cấp bằng sáng chế của Ford và Lincoln
Bên cạnh đó, công nghệ này có vẻ sẽ chỉ hoạt động ở khoảng cách gần, tương tự hình ảnh động chào mừng trong đèn pha kiểu mới. Sau khi chủ xe đến đủ gần, một logo lớn sẽ được chiếu hình trên nóc xe. Khi chủ xe đến gần hơn nữa, thiết bị chiếu ảnh đầu tiên sẽ dừng lại, và thiết bị thứ hai, nằm gần vật trang trí mũi xe, sẽ khởi động và chiếu hình ảnh logo nhỏ hơn.

Hình phác thảo trong đơn xin cấp bằng sáng chế của Ford và Lincoln
Không chỉ vậy, nhà sản xuất xe Mỹ cũng đưa ra ý tưởng chiếu hình bên sườn xe, giống như đèn gầm nhưng thú vị hơn. Bằng sáng chế thậm chí còn đề cập rằng người lái xe có thể đưa hình ảnh của chính họ vào hệ thống, tuy nhiên không chắc rằng hình đó có màu hay không. Bằng sáng chế cũng lưu ý rằng các giai đoạn kích hoạt khác nhau có thể xảy ra theo bất kỳ trình tự nào hoặc xảy ra đồng thời, và nó có thể hoạt động đối với mọi loại xe xăng dầu, điện, hoặc hybrid.

Hình phác thảo trong đơn xin cấp bằng sáng chế của Ford và Lincoln
Giống với những bằng sáng chế khác, công nghệ chiếu ảnh 3 chiều này không chắc chắn sẽ trở thành một tính năng mới, ít nhất là trong tương lai gần.